As causas típicas de falha de um parafuso autoperfurante são detalhadas em seguida:
- Espessura a perfurar:
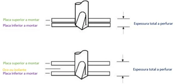
Antes de iniciar uma fixação, é necessário realizar uma seleção adequada do diâmetro do parafuso a utilizar em função da espessura a perfurar. Regra geral, devemos assegurar-nos de que o comprimento da broca do parafuso seja superior à espessura total a perfurar, incluindo as espessuras de ambas as chapas e a eventual câmara intermédia (ar, isolamento, etc.) que possa existir entre ambas.

Para isso, devemos fixar-nos na gama de espessuras recomendada para cada diâmetro e tipo de parafuso:

Para fixar espessuras de chapa muito grossas (6 mm ÷ 12 mm), podemos recorrer a parafusos viga (referência Index AUTO), já que contanto com uma broca extra comprida, garante-nos que o parafuso perfure por completo a espessura total das chapas antes que a rosca do parafuso inicie a roscagem.

Em contrapartida, para espessuras de chapa muito finas, temos a possibilidade de recorrer a parafusos com ponta de broca reduzida (referência Index ARE) que realizará uma inserção inicial na chapa na qual irá se alojar a rosca do parafuso, evitando que a mesma passe da rosca.

- Material a perfurar:
Os parafusos autoperfurantes de aço de carbono são endurecidos, pelo que permitem perfurar materiais como aço, latão e alumínio.
Não obstante, os parafusos autoperfurantes de aço inoxidável não permitem o seu endurecimento por tratamento térmico, pelo que a sua utilização é recomendada exclusivamente para materiais de menor resistência, como o alumínio.
Caso seja necessário o uso de parafusos autoperfurantes inoxidáveis sobre aço de carbono, devemos utilizar parafusos bimetálicos, os quais são fabricados com um corpo de aço inoxidável A2 + uma ponta broca de aço de carbono endurecido, soldados entre si.

- Par de instalação:
No momento de instalar um parafuso autoperfurante devemos controlar o par de instalação. Um par excessivo pode causar a rutura do mesmo no momento em que a cabeça entra em contacto com a chapa. Para isso, recomenda-se utilizar brocas elétricas com controlo de par.

- Velocidade de perfuração:
Também é importante respeitar uma velocidade de rotação adequada durante a perfuração. Uma velocidade de rotação excessiva pode provocar o aquecimento excessivo da broca do parafuso e a perda do seu fio, impedindo a sua instalação.
Na tabela seguinte, pode encontrar a velocidade de perfuração recomendada para cada parafuso em função do seu diâmetro e do material a perfurar.

- Materiais a fixar elásticos:
Não se recomenda a utilização de parafusos autoperfurantes quando os materiais a fixar apresentam elasticidade, por exemplo, com a presença de peças intermédias de borracha ou plástico flexível. Um par de instalação excessivo pode causar uma elevada força de compressão sobre esses materiais elásticos que, a médio prazo, podem provocar uma força de tração excessiva sobre o parafuso, provocando a sua rutura.
Última revisão: FAQ26 rev0